
600E電化學分析儀/工作站

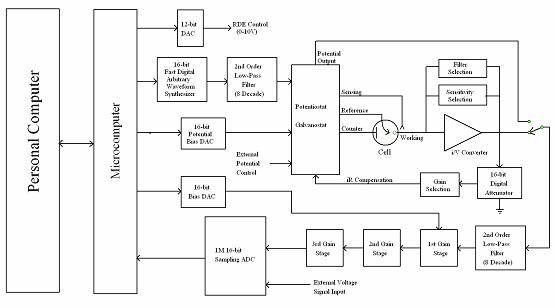
600E為通用電化學測量系統。下圖為儀器的硬件結構示意圖。儀器內含快速數字信號發生器,用于高頻交流阻抗測量的直接數字信號合成器,雙通道高速數據采集系統,電位電流信號濾波器,多級信號增益,iR降補償電路,以及恒電位儀/恒電流儀(660E)。電位范圍為10V,電流范圍為250mA。電流測量下限低于10pA。可直接用于超微電上的穩態電流測量。如果與 200B微電流放大器及屏蔽箱連接,可測量1pA或更低的電流。如果與
600E系列硬件采用了高速的處理器,快速的放大器,快速的模數轉換器和數模轉換器。計時電量法加上了模擬積分器。一個16位高分辨高穩定的電流偏置電路以達到電流復零輸出,亦可用于提高交流測量的電流動態范圍。高分辨的模數轉換器具有更好的信噪比,也給出了靈敏度設置的更大動態范圍。
600E系列儀器的內部控制程序采用了FLASH存儲器。儀器軟件的更新不再需要通過郵寄并更換EPROM,而可以通過網絡進行傳送并通過程序命令寫入。這使得軟件更新更加快捷方便。
600E系列還允許升級為雙恒電位儀。新的設計通過增加一塊第二通道的電位控制,電流電壓轉換,多級增益和低通濾波器的電路板,便成了 700E系列的雙恒電位儀。
600E系列儀器集成了幾乎所有常用的電化學測量技術。為了滿足不同的應用需要以及經費條件, 600E系列分成多種型號。不同的型號具有不同的電化學測量技術和功能,但基本的硬件參數指標和軟件性能是相同的。600E和610E為基本型,分別用于機理研究和分析應用。它們也是十分優良的教學儀器。602E和604E可用于腐蝕研究。620E和630E為綜合電化學分析儀,而650E和660E為更先進的電化學工作站。
600E系列電化學分析儀/工作站的框圖



硬件參數指標
|
恒電位儀 零阻電流計 2,3,4電結構 浮動地線或實地 大電位范圍:±10V 大電流:±250mA連續,±350mA峰值 槽壓:±13V 恒電位儀上升時間:小于1s,通常0.8s 恒電位儀帶寬(-3分貝):1MHz 所加電位范圍:±10mV, ±50mV, ±100mV, ±650mV, ±3.276V, ±6.553V, ±10V 所加電位分辨:電位范圍的0.0015% 所加電位準確度:±1mV,±滿量程的0.01% 所加電位噪聲:<10V均方根植 測量電流范圍:±10pA至± 測量電流分辨:電流量程的0.0015%,低0.3fA 電流測量準確度:電流靈敏度大于等于1e 輸入偏置電流:<20pA 恒電流儀( 660E) 恒電流范圍:3nA–250mA 所加電流準確度:如果電流大于3e 所加電流分辨率:電流范圍的0.03% 測量電流范圍:±0.025V,±0.1V,±0.25V,±1V,±2.5V,±10V 電位計 參比電輸入阻抗:1e12歐姆 參比電輸入帶寬:10MHz 參比電輸入偏置電流:<=10pA @ 波形發生和數據獲得系統 快速信號發生更新速率:10MHz,16位分辨 快速數據采集系統:16位分辨,雙通道同步采樣,采樣速率每秒1,000,000點 外部信號記錄通道高采樣速率:1MHz 可拓展掃描電化學顯微鏡功能 |
|
實驗參數 CV和LSV掃描速度:0.000001V/s至10,000V/s 掃描時的電位增量:0.1mV(當掃速為1,000V/s時) CA和CC的脈沖寬度:0.0001至1000sec CA和CC的小采樣間隔:1s CC模擬積分器 DPV和NPV的脈沖寬度:0.001至10sec SWV頻率:1至100kHz i-t的小采樣間隔:1s ACV頻率范圍:0.1至10kHz SHACV頻率范圍:0.1至5kHz FTACV頻率范圍:0.1至50Hz,可同時獲取基波,二次諧波,三次諧波,四次諧波,五次諧波,六次諧波的ACV數據 交流阻抗:0.00001至1MHz 交流阻抗波形幅度:0.00001V至0.7V均方根值 其他特點 自動或手動iR降補償 電流測量偏置:滿量程,16位分辨,0.003%準確度 電位測量偏置:±10V,16位分辨,0.003%準確度 外部電位輸入 電位和電流的模擬輸出 可控電位濾波器的截止頻率:1.5MHz,150KHz,15KHz,1.5KHz,150Hz,15Hz,1.5Hz, 0.15Hz 可控信號濾波器的截止頻率:1.5MHz,150KHz,15KHz,1.5KHz,150Hz,15Hz,1.5Hz, 0.15Hz 旋轉電控制電壓輸出( 630E以上型號): 0-10V對用于0-10000rpm的轉速,16位分辨,0.003%準確度,需要某些旋轉電裝置才能工作 通過宏命令可以控制數字輸入輸出線 內閃存儲器可迅速更新程序 串行口或USB口數據通訊 電解池控制:通氮,攪拌,敲擊(需要特殊電解池系統) CV數字模擬器和擬合器。用戶定義反應機理( 630E以上)或預定義反應機理(其他型號) 交流阻抗模擬器和擬合器(具有交流阻抗測量功能的型號) 大數據長度:256K-16384K可選 儀器尺寸: |
600E系列儀器不同型號的比較
|
功能 |
600E |
602E |
604E |
610E |
620E |
630E |
650E |
660E |
|
循環伏安法(CV) |
|
|
|
|
|
|
|
|
|
線性掃描伏安法(LSV)# |
|
|
|
|
|
|
|
|
|
階梯波伏安法(SCV)# |
|
|
|
|
|
|
|
|
|
Tafel圖(TAFEL) |
|
|
|
|
|
|
|
|
|
計時電流法(CA) |
|
|
|
|
|
|
|
|
|
計時電量法(CC) |
|
|
|
|
|
|
|
|
|
差分脈沖伏安法(DPV)# |
|
|
|
|
|
|
|
|
|
常規脈沖伏安法(NPV)# |
|
|
|
|
|
|
|
|
|
差分常規脈沖伏安法(DNPV)# |
|
|
|
|
|
|
|
|
|
方波伏安法(SWV)# |
|
|
|
|
|
|
|
|
|
交流(含相敏)伏安法(ACV)# |
|
|
|
|
|
|
|
|
|
二次諧波交流(相敏)伏安法(SHACV)# |
|
|
|
|
|
|
|
|
|
傅里葉變換交流伏安法(FTACV) |
|
|
|
|
|
|
|
|
|
電流-時間曲線(i-t) |
|
|
|
|
|
|
|
|
|
差分脈沖電流檢測(DPA) |
|
|
|
|
|
|
|
|
|
雙差分脈沖電流檢測(DDPA) |
|
|
|
|
|
|
|
|
|
三脈沖電流檢測(TPA) |
|
|
|
|
|
|
|
|
|
積分脈沖電流檢測(IPAD) |
|
|
|
|
|
|
|
|
|
控制電位電解庫侖法(BE) |
|
|
|
|
|
|
|
|
|
流體力學調制伏安法(HMV) |
|
|
|
|
|
|
|
|
|
掃描-階躍混合方法(SSF) |
|
|
|
|
|
|
|
|
|
多電位階躍方法(STEP) |
|
|
|
|
|
|
|
|
|
交流阻抗測量(IMP) |
|
|
|
|
|
|
|
|
|
交流阻抗-時間測量(IMPT) |
|
|
|
|
|
|
|
|
|
交流阻抗-電位測量(IMPE) |
|
|
|
|
|
|
|
|
|
計時電位法(CP) |
|
|
|
|
|
|
|
|
|
電流掃描計時電位法(CPCR) |
|
|
|
|
|
|
|
|
|
多電流階躍法(ISTEP) |
|
|
|
|
|
|
|
|
|
電位溶出分析(PSA) |
|
|
|
|
|
|
|
|
|
電化學噪聲測量(ECN) |
|
|
|
|
|
|
|
|
|
開路電壓-時間曲線(OCPT) |
|
|
|
|
|
|
|
|
|
|
|
|
|
|
|
|
|
|
|
恒電流儀 |
|
|
|
|
|
|
|
|
|
RDE控制(0-10V輸出) |
|
|
|
|
|
|
|
|
|
任意反應機理CV模擬器 |
|
|
|
|
|
|
|
|
|
預設反應機理CV模擬器 |
|
|
|
|
|
|
|
|
|
交流阻抗數字模擬器和擬合程序 |
|
|
|
|
|
|
|
|
|
|
|
|
|
|
|
|
|
|
|
價格(元)* |
25,400 |
30,000 |
36,900 |
25,400 |
34,600 |
43,800 |
50,700 |
57,600 |
注: #:包括相應的譜法和溶出伏安法。用于譜法時需要特殊的靜汞電或敲擊器。
*:價格不包括計算機。儀器的保修期為一年。
選配附件
一、常用工作電:
|
型號 |
描述 |
數量 |
價格 |
|
101 |
|
1支 |
620元 |
|
102 |
|
1支 |
620元 |
|
103 |
|
1支 |
498元 |
|
104 |
|
1支 |
620元 |
|
105 |
12.5um直徑金盤微電 |
1支 |
1030元 |
|
106 |
25um直徑金盤微電 |
1支 |
1030元 |
|
107 |
10um直徑鉑盤微電 |
1支 |
1030元 |
|
108 |
25um直徑鉑盤微電 |
1支 |
1030元 |
二、常用參比電:
|
型號 |
描述 |
數量 |
價格 |
|
111 |
Ag/AgCl(銀/氯化銀)參比電 |
1支 |
100元 |
|
112 |
非水Ag/Ag+(銀/銀離子)參比電 |
1支 |
100元 |
|
150 |
飽和甘汞電 |
1支 |
100元 |
|
151 |
汞/硫酸亞汞參比電 |
1支 |
100元 |
|
152 |
汞/氧化汞參比電 |
1支 |
500元 |
注:使用 112非水Ag/Ag+參比電時,用戶需自行配制含支持電解質和銀離子(通常10mM)的溶液并注入參比電室內。
三、對電
|
型號 |
描述 |
數量 |
價格 |
|
115 |
鉑絲對電 |
1支 |
375元 |
友情鏈接: